忍者ブログ

みのるの健康法ブログ ~青汁・黒ゴマきな粉・株とFX~

私の健康法&株・FXをご紹介します。

   

[PR]

×

[PR]上記の広告は3ヶ月以上新規記事投稿のないブログに表示されています。新しい記事を書く事で広告が消えます。

失敗は成功のもと

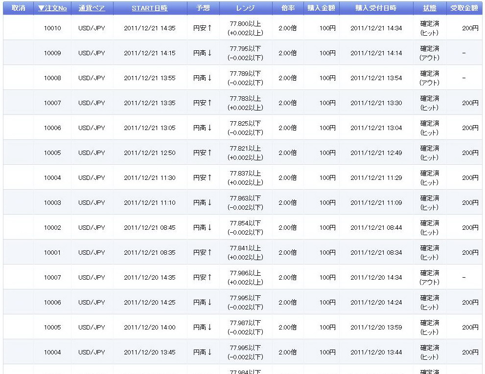
昨日と今日は忙しく動き廻っていたので、オプション取引をする時間がありませんでした。それでも4連勝中です。

昨日は、勝てたと思っていたら入力にミスがあり、ドル/円に注文を出したつもりがユーロ/円の取引になっていたので失敗しました。

失敗は繰り返さずに心掛けるようになった事は、私の怪我の功名でしようか。

今日は孫が来たので遊んでやったりデパートに行き、ゲームをさせたり、食事は蔵寿司で孫と共に久し振りに、テーブルを囲み楽しく過ごせたので、満足しています。

PR

外為オプションは,勝てそうで勝てない。

あけましておめでとうございます。今日から仕事始めです。ユーロ/円に手を出し失敗しました。2勝5敗です。

ドル/円があまりに動きが鈍いので、クリック証券のレンジにやられると思われたから、ユーロ/円のオプション取引をして見ました。なれない動きに若干のずれで、勝ち損ねた感じです。初の取引きはご祝儀とはなりませんでした。

今日は早めに見切りをつけ筋トレです。ベンチプレスで30k×50回を10本こなし、腹筋200回を毎日行っているので、今のところ健康体です。これからも続けて行きますよ。20年も筋トレをしていますからね。

外為オプションまずまず

今日は、ドル/円の値動きが少なく、レンジでやられる事が多いのであまり勝負せず早めに止める事にした。

10月の半ばからクリック証券の3,000円を使用して、トレンドの流れを研究しながら勝負を重ねた結果、若干の+で本年を終了させたので、私としては、まずまずの成績だと思っています。

ただで貰った3,000円で毎日楽しむことが出来ました。7連勝も2回程、連敗は5連敗を経験しました。新年度から金額を増やしてチャレンジしようかな~なんて考えています。

今日はドル/円の値動きが鈍いのでユーロ/ドルやユーロ/円なども見てみたが、値動きが盛んであっちも面白そうですね。来年は、ドル/円以外の通貨にも挑戦してみようかな。

株価色々頑張るマン

今日の株式はNYダウが139ドル安と大幅に下げた割には、24円安に止まりましたね。

最近、外人買いが20日~29日まで買い超しです。今まで連続しての外人買いは無かったと思います。今日の株式相場を見ると少し安心しましたよ。

来年に期待が持てるかも知れませんね。今年は一度も株の売買が出来ず沢山の塩漬け株があり、じっと耐えている所です。

辰巳で売れと言う格言がありますが、来年は復興需要もあり、相場が上向き活況になればと期待をしています。

本日の外為オプションは、連敗を重ね惨敗と同じで自信喪失ですよ。

ジジーの呟き

此の所、上手く注文が入らないね。前日もクリック証券が邪魔をしているみたいで、受付してくれないから数回のチャンスを逃してしまった感じです。

今週に入ってから少ない時間ですが、毎日、ハラハラドキドキの連続で、悔しい思いをしています。

勝ったり負けたり行って来いの勝負で、なかなか連勝出来ない。僅か10秒の差で負けた事が多々あり、10分先のトレンドが読めるものではないよ。

判断が付きにくい動きが多い中、運だけが頼りになってしまいます。つい泣き言を言ってしまったね。

私のブログを読んで頂き、有難うございます。

ア~ 気分爽快

毎日のウォーキングを楽しむには、コースを変えたり新地を求め目先を変える事も、新しい発見にもつながり、レフレッシュになると思ったので、或る所のホームセンターに駐車して、1時間程、その周辺を歩いて見ました。

暮れも押し迫り、家々の庭木の手入れも盛んに行われているのを横目にしながら歩いていたら、古民家の前に来ました。

故郷の古い生家を思い出し、懐かしさのあまり眺めていたら、犬に声を掛けられてしまいました。これは失礼しました。

此のあたりは比較的新しい住宅の中、古民家は目立つ存在です。何代も続いている家柄だろうな~と思いながら前を通って来ました。

これからもウォーキングを楽しむため、色々な所に出かけて町並みを見たいと思います。

外為オプション本日は負け越し

相場が動かない時はやっても駄目だね。勝てやしないよ。6勝7敗で負け越しです。

外は寒いので家に居るのが多くなり、つい何でもかんでも手を出したみたいで、我ながら呆れています。

休むのも勝負ですよね。4回共、レンジにはまってしまい、クリック証券に取られたようです。昨日は4勝3敗だったので、今日と昨日で半々の勝負でした。

今週は若干勝ち越しです。来週も頑張るぞ~

 

外為オプション 俺でも勝てたよ!!

相場が思い通りに動いてくれましたよ。こんな日はめったに巡ってこないと思いますね。余程ついていたとしか思えません。

7連勝の後、2連敗したので、止めようと思いながら買いを入れたら勝ってしまいました。これで8勝2敗で本日の勝負は終了です。

次は10連勝を目指して頑張りたいと思っていますが、果たしてどうでしょうか。難しいだろうな~

謙虚な気持ちでこつこつと勝てるトレンドが必ずあるはずですから、見つけたら掛け金を増やしたい。







プロフィール

HN:
minoru
性別:
男性
自己紹介:
神奈川県在住の1936年生

ブログランキング

にほんブログ村 健康ブログ 健康法へにほんブログ村 為替ブログ FX初心者本人(1年目)へ
人気ブログランキングへ

スポンサード リンク

管理者用リンク

カレンダー

12 2026/01 02
S M T W T F S
1 2 3
4 5 6 7 8 9 10
11 12 13 14 15 16 17
18 19 20 21 22 23 24
25 26 27 28 29 30 31

カウンター

最新コメント

[11/30 minoru]
[11/30 ぴよっこ]

最新トラックバック

スポンサード リンク

バーコード

ブログ内検索

Copyright ©  -- みのるの健康法ブログ ~青汁・黒ゴマきな粉・株とFX~ --  All Rights Reserved
Design by CriCri / Photo by Geralt / powered by NINJA TOOLS / 忍者ブログ / [PR]